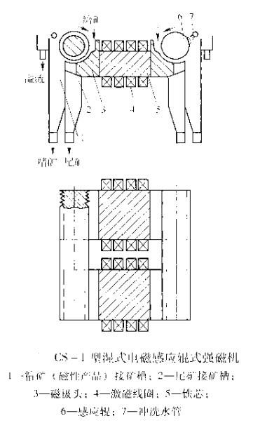
濕式電磁感應輥式強磁場磁選機的型號規格較多,在工業上廣泛應用的是CS-1型濕式電磁感應輥式強磁場磁選機,其基本結構如下圖所示,主要由磁系,給礦箱和產品收集箱等組成。

該機的磁系由電磁鐵,磁極頭和分選輥組成,兩個互相平行的電磁鐵的四個端部都裝有磁極頭,兩個平行的感應輥與電磁鐵垂直配置,位于磁極頭斜下方,構成“口”字形閉合磁回路感應輥與磁極頭凹面之間的弧形間隙稱為分選間隙,為產生不均勻強磁場,感應輥表面制成齒狀,感應輥,磁極頭和鐵芯都用工程純鐵制作,感應輥在工作時由電機通過減速機驅動,轉速為40~50r/min,電磁鐵和磁極頭固定不動。
分選時,礦漿由上方的給礦箱給入感應輥與磁極頭之間的分選間隙,磁性礦粒在磁力作用下被吸到感應輥齒上,并隨輥一起旋轉至外側非磁場區,被水沖下落入精礦箱中,非磁性礦粒,隨礦漿流通過梳齒狀篩板,漏入尾礦箱中。
CS-1型濕式電磁感應輥式強磁場磁選機在選錳礦物和赤鐵礦中獲得較好的指標。